ГЛАВА 2 МЕХАНИЧЕСКОЕ ОБОРУДОВАНИЕ ЛИФТОВ
2.1. Лифтовые лебедки - часть 1
2.1.1. Общие сведения
Лебедка (подъемный механизм лифта) предназначена для приведения в
движение кабины с пассажирами и (или) грузом. Наиболее распространенными
являются канатные лебедки различных конструкций. Для обеспечения
безопасной работы лифта лебедки должны соответствовать требованиям ПУБЭЛ.
Рассмотрим некоторые из этих требований.
1. Лебедка и элементы ее крепления должны быть рассчитаны на нагрузки,
возникающие в процессе эксплуатации и испытаний лифта.
2. Барабанная лебедка и лебедка со звездочкой могут применяться на
лифтах, номинальная скорость которых не превышает 0,63 м/с.
На лифтах с этими лебедками не допускается применение противовеса;
допускается применение уравновешивающих устройств кабины.
3. Между тормозным шкивом и канатоведущим органом лебедки должна быть
неразмыкаемая кинематическая связь.
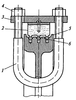
4. Лебедка должна быть оборудована устройством (струбциной), позволяющим
перемещать кабину при отключении электропитания (рис.
2.1). При подъеме груженой кабины усилие, прикладываемое к устройству,
не должно превышать 235 Н.
5. Используемый в устройстве штурвал может быть съемным или
установленным на валу постоянно.
Не допускается применение штурвала со спицами или кривошипной рукоятки.
Съемный штурвал должен храниться в машинном помещении.
При размещении в машинном помещении нескольких
лебедок съемные штурвалы должны иметь маркировку (окраску), указывающую
на их принадлежность к конкретной лебедке.
6. На лебедке или на штурвале должно быть указано направление движения
кабины при вращении штурвала.
7. Должна быть предусмотрена возможность контроля из машинного помещения
нахождения кабины в зоне отпирания дверей.
По типу привода различают лебедки: с электрическим приводом переменного
или постоянного тока; с приводом от гидродвигателя вращательного типа.
В обычных лифтах наиболее распространен привод от электродвигателя
переменного тока. Привод от электродвигателя постоянного тока применяют
в основном на скоростных лифтах. Привод от гидродвигателя вращательного
типа используют, как . правило, в лифтах зарубежного производства для
зданий малой этажности.
По типу применяемого канатоведущего органа различают лебедки барабанного
типа (рис. 2.2, а), с канатоведущим шкивом (рис. 2.2, б) и звездочкой.
В качестве канатоведущего органа современных лифтов обычно применяют
канатоведущий шкив, что обусловливается причинами, рассмотренными ниже.
По характеру кинематической связи между двигателем и канатоведущим
органом лебедки подразделяют на безредукторные и ре-дукторные.
Редукторными называются лебедки, у которых канатоведущий орган
приводится в движение от двигателя через редуктор.
Редуктор — это механизм, преобразующий движение с изменением частоты
вращения и моментов. С помощью редуктора мож-но уменьшить частоту
вращения его рабочего органа относительно частоты вращения приводного
механизма, а также увеличить момент на рабочем органе.

Рис. 2.1. Струбцина для фиксации тяговых канатов
на канатоведущем шкиве:
1 — скоба; 2 — деревянная колодка; 3 — планка; 4 — гайка; 5 —
канатоведущий шкив; 6 — канат

Рис. 2.2. Лебедки:
а — барабанного типа; б — с канатоведущим шкивом; 1 — отклоняющий блок;
2, 4 — канаты; 3 — барабан; 5 — канатоведущий шкив

Рис. 2.3. Безредукторная лебедка с тихоходным
электродвигателем постоянного тока:
1 — электродвигатель; 2 — электромагнит; 3 — тормоз; 4 — канатоведущий
шкив; 5 — опора; 6 — рама; 7 — контршкив
Содержание
- 1. ВВЕДЕНИЕ (лифты)
- 2. 1.1. Определение лифта
- 3. Устройство и состав типового лифта
- 4. Машинное и блочное помещения оборудованиятиповых лифтов
- 5. Шахта лифта (устройство) - часть 1
- 6. Шахта лифта (устройство) - часть 2
- 7. Шахта лифта (устройство) - часть 3
- 8. Шахта лифта (устройство) - часть 4
- 9. Классификация лифтов
- 10. 1.4.
- 11. Контрольные вопросы
- 12. Контрольные вопросы
- 13. Контрольные вопросы
- 14. 2.1. Лифтовые лебедки - часть 1
- 15. 2.1. Лифтовые лебедки - часть 2
- 16. Лифтовая лебедка с червячным редуктором иканатоведущим шкивом.
- 17. Редукторы лифтовых лебёдок - часть 1
- 18. Редукторы лифтовых лебёдок - часть 2
- 19. Контрольные вопросы
- 20. Канатоведущие органы, блоки и контршкивылифтовых лебёдок
- 21. Барабаны лифтовых лебёдок
- 22. Канатоведущие шкивы лифтовых лебёдок
- 23. Блоки и контршкивы лифтовых лебёдок
- 24. Муфты лифтовых лебёдок
- 25. Тормозные устройства лифтовых лебёдок - часть 1
- 26. Тормозные устройства лифтовых лебёдок - часть 2
- 27. Колодочный тормоз с короткоходовымэлектромагнитом постоянного тока типа МП-201
- 28. Контрольные вопросы
- 29. Кабины лифтов
- 30. Каркас кабины лифта
- 31. Пол и устройства контроля загрузки кабины лифта- часть 1
- 32. ф
- 33. Уравновешивающие элементы кабины лифта
- 34. Гибкие уравновешивающие элементы кабины лифта
- 35. Направляющие башмаки кабины лифта
- 36. Смазывающие аппараты башмаков кабины лифта
- 37. Контрольные вопросы
- 38. Подвески кабин и противовесов лифта
- 39. Пружинные подвески лифта
- 40. Жесткая подвеска лифта
- 41. Полиспастная подвеска лифта
- 42. Ловители лифта
- 43. Лифтовые ловители резкого торможения
- 44. Лифтовые ловители плавного торможения
- 45. Механизм включения ловителей лифта - часть 1
- 46. Механизм включения ловителей лифта - часть 2
- 47. Ограничитель скорости лифта
- 48. Лифтовой ограничитель скорости центробежноготипа с горизонтальной осью вращения
- 49. Лифтовой ограничитель скорости с инерционнымроликом
- 50. Двери шахты и кабины лифта
- 51. Двери шахты и дверные замки лифта
- 52. Распашные двери шахты лифта - часть 1
- 53. Распашные двери шахты лифта - часть 2
- 54. Горизонтально-раздвижные двери шахты лифта -часть 1
- 55. Горизонтально-раздвижные двери шахты лифта -часть 2
- 56. Распашные двери кабины лифта
- 57. Горизонтально-раздвижные двери кабины лифта -часть 1
- 58. Горизонтально-раздвижные двери кабины лифта -часть 2
- 59. Лифтовые канаты - часть 1
- 60. Первоначальный коэффициент запаса прочности при отношении D/d
- 61. Направляющие кабины и противовеса лифта -часть 1
- 62. Направляющие кабины и противовеса лифта - часть2
- 63. Направляющие кабины и противовеса лифта - часть3
- 64. Марка
- 65. Упоры и буфера лифта
- 66. Пружинные буфера лифта
- 67. Гидравлические буфера лифта - часть 1
- 68. Гидравлические буфера лифта - часть 2
- 69. 3.1. Общие сведения
- 70. Требования к электроприводу,электропроводке и освещению лифтов с РЕЛЕЙНО-КОНТАКТОРНЫМИ НКУ
- 71. Виды и системы управления лифтов сРЕЛЕЙНО-КОНТАКТОРНЫМИ НКУ
- 72. Наименование и назначениеэлектрооборудования и электроаппаратов лифтов с РЕЛЕЙНО-КОНТАКТОРНЫМИ НКУ
- 73. Классификация электрических схем лифтов сРЕЛЕЙНО-КОНТАКТОРНЫМИ НКУ
- 74. Условные обозначения элементовэлектрических схем лифтов с релейно-контакторными НКУ
- 75. Структура принципиальных электрических схемлифтов с релейно-контакторными НКУ
- 76. Узел определения местонахождения кабины и выборанаправления движения лифтов с релейно-контакторными НКУ
- 77. Узел тормозного устройства лифтов срелейно-контакторными НКУ
- 78. Узлы питания лифтов с релейно-контакторными НКУ
- 79. Применение R— С-цепочек в электрических схемахлифтов
- 80. Устройство и принцип действия лифтовыхприборов типа «Логика И-300»
- 81. Правила чтения принципиальных электрическихсхем лифтов с релейно-контакторными НКУ
- 82. ->
- 83. Краткая характеристика системы управления лифтом
- 84. Краткая характеристика системы управления лифтом
- 85. Контакт
- 86. 3.13.2. Программы работы лифтов общегоназначения грузоподъемностью 500, 1000, 2000 и 3200 кг с номинальнойскоростью движения кабины 0,5 м/с и грузоподъемностью 5000 кг сноминальной скоростью движения кабины 0,25 м/с
- 87. Режим «Нормальная работа»
- 88. Контакт
- 89. Программа работа лифта в режиме «Нормальная работа»
- 90. Режим «Нормальная работа»
- 91. Соединение
- 92. 3.15.2. Программы работы пассажирского лифта дляжилых зданий грузоподъемностью 320 (500) кг с номинальной скоростьюдвижения кабины 1,0 м/с, светящимися кнопками и одиночным управлением
- 93. Режим «Нормальная работа»
- 94. 3.16. Групповая работа пассажирских лифтов -часть 1
- 95. Соединение
- 96. Групповая работа пассажирских лифтов - часть 3
- 97. Режим «Нормальная работа»
- 98. Погрузочный режим лифта Б
- 99. Диспетчерский контроль за работой лифтов
- 100. 4.1. Особенности новых систем управления лифтами
- 101. Основные технические характеристики
- 102. Программа работы лифта в режиме «Нормальнаяработа»
- 103. Лифты с НКУ типов УЛЖ-10 и УЛЖ-17 - часть 1
- 104. Структурная схема электрической часта
- 105. 4.5. Лифтовый блок управления релейный для НКУтипов УЛЖ-10 и УЛЖ-17 - часть 1
- 106. Реле
- 107. Принцип действия цепи тормозного электромагнитаYA1
- 108. Лифтовый блок управления логический
- 109. 4.7. Световые индикаторы лифта
- 110. Контрольные вопросы
- 111. Устройства защиты и контроля лифта (УЛЖ-10)
- 112. Режим «Нормальная работа»
- 113. 5.1.
- 114. Техническое диагностирование и обследованиелифтов
- 115. Виды ремонтов лифтов
- 116. Регистрация и ввод лифта в эксплуатацию
- 117. Порядок расследования аварий и несчастныхслучаев с лифтами
- 118. 6.1. Основные положения охраны труда при производстве работ на лифтах
- 119. Требования охраны труда при оперативномобслуживании и ремонте электроустановок напряжением до 1000 В на лифтах
- 120. 6.3. Порядок и условия производства работ вдействующих электроустановках на лифтах
- 121. Организация работ на лифтах, выполняемых впорядке текущей эксплуатации согласно перечню
- 122. Отключения электроустановок на лифтах
- 123. Вывешивание запрещающих плакатов на лифтах
- 124. Проверка отсутствия напряжения на лифтах
- 125. Требования к лифтовым переноснымэлектроинструментам, светильникам, ручным электрическим машинам иразделительным трансформаторам
- 126. Защитные средства при работе на лифтах
- 127. СПИСОК ЛИТЕРАТУРЫ (лифты)

от 6237.00 руб./шт.

от 6825.00 руб./шт.

от 32 571.00 руб./шт.

от 5775.00 руб./шт.

от 6861.00 руб./шт.

от 6237.00 руб./шт.

от 6699.00 руб./шт.

от 4851.00 руб./шт.

от 5311.00 руб./шт.





