Лебедки лифта - устройство
Лебедки. Перемещение кабин и противовесов лифтов
(подъем и спуск) осуществляется подъемными механизмами — лебедками.
Лебедки современных лифтов различаются по конструкции канатоведущих
органов и по типам передач от электродвигателей. По конструкции
канатоведущих органов лифтовые лебедки делятся на два основных типа: с
канатоведущим шкивом и барабанные, а по типам передач — на редукторные и
безредукторные.
У лебедки с канатоведущим шкивом (рис. 7) кабина и противовес
подвешиваются на противоположных концах одних и тех же канатов, которые,
огибая шкив, удерживают кабину и противовес за счет трения канатов в
ручьях канатоведущего шкива. У таких
лебедок канаты кабины и противовеса огибают
канатоведущий шкив на сравнительно небольшой угол (менее чем на два
оборота). В связи с этим число ручьев канатоведущего шкива не превышает
удвоенного числа канатов, поэтому шкив в отличие от барабана имеет
сравнительно небольшую ширину, не зависящую от высоты подъема. При угле
обхвата, близком к 360°, применяют отводные блоки. При этом запасовка
канатов производится следующим образом: канаты, закрепленные на кабине,
огибают канатоведущий шкив, отводятся к блоку, установленному под
канатоведущим шкивом, снова возвращаются на канатоведущий шкив и затем
идут к противовесу.
При редукторном приводе вал двигателя соединяется с валом канатоведущего
шкива или барабана зубчатой, червячной или смешанной передачей.
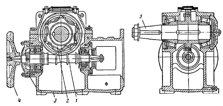
На рис. 8 показан глобоидный редуктор лебедки, применяемый для
пассажирских лифтов грузоподъемностью 320 кг со скоростью 1 м/с, с
межцентровым расстоянием 160 мм и передаточным числом 50.
Лебедки оборудуются автоматическими тормозами замкнутого типа (рис. 9).
Тормоз устанавливают на, .приводном валу, имеющем неразмыкаемую
кинематическую связь с барабаномили с канато-ведущим шкивом. Применение
ленточных тормозов не допускается. Все лифтовые лебедки, за исключением
лебедок грузовых малых лифтов, должны быть снабжены постоянно
установленным или съемным штурвалом, чтобы можно было привести их в
действие вручную. На лебедках должно быть указано направление вращения
штурвала для подъема и спуска кабины. Применение штурвалов со спицами
или кривошипной рукоятки не допускается.
Безредукторные лебедки (лебедки, у которых
канатоведущий шкив находится непосредственно на валу двигателя)
штурвалом могут не оборудоваться, если возможно передвижение кабины от
электропривода со скоростью не более 0,36 м/с.
Барабанные лебедки в настоящее время применяют чрезвычайно редко и
только в тех случаях, когда по каким-либо причинам нельзя применить
канатоведущий шкив (например, нет места для размещения противовеса).
Барабан лебедки должен иметь нарезанные по винтовой линии канавки
полукруглой формы, предназначенные для правильной укладки канатов на
барабан и для уменьшения удельного давления.
Иногда применяется многослойная навивка канатов, при этом лебедка должна
оборудоваться канатоукладчиком.
Канатоемкость барабана должна предусматривать
наличие не менее полутора запасных витков каждого закрепленного на
барабане каната. Во избежание спадения канатов барабаны должны иметь
реборды высотой не менее одного диаметра каната.
Не допускается использовать в качестве барабанной лебедки электрические
тали.

Рис. 8. Редуктор:
1 — червяк; 2 — червячное колесо; 3 — корпус редуктора; 4 — штурвал; 5 —
вал редуктора

Рис. 9. Тормозное устройство:
1 — рычаг; 2 — колодка; 3 — шток; 4 - приспособление для ручного
растормаживания; 5 — магнит; 6 — пружина
Содержание
- 1. Безопасная эксплуатация лифтов (Бродский М.Г.) - онлайн
- 2. ПРЕДИСЛОВИЕ - Безопасная эксплуатация лифтов
- 3. КЛАССИФИКАЦИЯ ЛИФТОВ
- 4. КИНЕМАТИЧЕСКИЕ СХЕМЫ ЛИФТОВ
- 5. ТЕХНИЧЕСКАЯ ХАРАКТЕРИСТИКА ЛИФТОВ
- 6. УСТРОЙСТВО ПАССАЖИРСКИХ ЛИФТОВ
- 7. Шахта лифта - устройство
- 8. Направляющие элементы лифта - устройство
- 9. Лебедки лифта - устройство
- 10. Кабина лифта - устройство
- 11. Противовес лифта - устройство
- 12. Канаты лифта - устройство
- 13. Ловители лифта - устройство
- 14. Ограничитель скорости лифта - устройство
- 15. Упоры и буфера лифта - устройство
- 16. Дверные замки лифта - устройство
- 17. Контакты безопасности лифта - устройство
- 18. Лифтовый привод переменного и постоянного тока
- 19. Типовые системы управления лифта
- 20. Требования к системам управления, предъявляемые правилами устройства ибезопасной эксплуатации лифтов
- 21. Сигнализация лифта
- 22. Освещение лифта
- 23. УСЛОВНЫЕ ОБОЗНАЧЕНИЯ ЭЛЕКТРОСХЕМЫ ЛИФТОВ
- 24. ПОСЛЕДОВАТЕЛЬНОСТЬ ДЕЙСТВИЯ ЭЛЕМЕНТОВ ЭЛЕКТРИЧЕСКИХ СХЕМ РАЗЛИЧНЫХ ЛИФТОВ
- 25. Электросхема лифта КМЗ-58 с двумя реле РВ и с реле РД
- 26. Электросхема лифта с реле РОД (грузоподъемность 320 кг, скорость 0,71м/с)
- 27. Электросхема лифта с реле РПК (грузоподъемность 320 кг, скорость 0,71м/с)
- 28. Электросхема лифта для жилых зданий с датчиками И КВ без реле РФ(грузоподъемность 500 (320) кг, скорость 1 м/с)
- 29. Электросхема лифта для жилых зданий с датчиками ДПЭ (грузоподъемность 500(320) кг, скорость 1 м/с)
- 30. Электросхема лифта с неподвижным полом и реле РП (грузоподъемность 320кг, скорость 0,71 м/с)
- 31. Электросхема лифта с неподвижным полом без реле РП (грузоподъемность 320кг, скорость 0,71 м/с)
- 32. Электросхема лифта с неподвижным полом (грузоподъемность 320 кг, скорость0,71 м/с)
- 33. ЛИФТ КМЗ-58 - МОДЕРНИЗАЦИЯ
- 34. ПРИНЦИП РАБОТЫ ЭЛЕКТРИЧЕСКОЙ СХЕМЫ МОДЕРНИЗИРОВАННОГО ЛИФТА МОДЕЛИ КМЗ-58
- 35. Блокированная работа двух лифтов, модель 1958 г.
- 36. Блокированная работа двух лифтов с реле РПК (грузоподъемность 320 кг,скорость 0,71 м/с)
- 37. Лифт с реле РОД и РПК (грузоподъемность 320 кг, скорость 0,71 м/с)
- 38. ЭКСПЛУАТАЦИЯ ЛИФТОВ
- 39. ТЕКУЩИЙ НАДЗОР ЗА ЛИФТАМИ
- 40. Текущий ремонт за лифтами
- 41. КАПИТАЛЬНЫЙ РЕМОНТ ЛИФТОВ
- 42. ВЕДОМОСТИ ДЕФЕКТОВ ЛИФТОВ
- 43. АГРЕГАТНЫЙ РЕМОНТ ЛИФТОВ
- 44. СПЕЦИАЛИЗАЦИЯ ОТДЕЛЬНЫХ ВИДОВ РАБОТ ЛИФТОВ
- 45. СТАТИЧЕСКОЕ ИСПЫТАНИЕ НАГРУЖАТЕЛЕМ ЛИФТОВЫМ СТАТИЧЕСКИМ (НЛС)
- 46. СТАТИЧЕСКОЕ ИСПЫТАНИЕ НАГРУЖАТЕЛЕМ ЛИФТОВЫМ СТАТИЧЕСКИМ (НЛС)
- 47. КАПИТАЛЬНО-ВОССТАНОВИТЕЛЬНЫЙ РЕМОНТ ЛИФТОВ
- 48. МЕТОДИКА ОПРЕДЕЛЕНИЯ НЕИСПРАВНОСТЕЙ В ПОДЪЕМНОМ МЕХАНИЗМЕ ПАССАЖИРСКИХЛИФТОВ С ГЛОБОИДНЫМ РЕДУКТОРОМ
- 49. ЭЛЕКТРИЧЕСКИЕ ИЗМЕРЕНИЯ НА ЛИФТАХ
- 50. Измерение сопротивления изоляции электрооборудования и сетей лифта
- 51. Методика выполнения измерений сопротивления изоляции на лифтах
- 52. Испытания заземляющих устройств лифта
- 53. Испытание заземляющих устройств и проверка переходных сопротивлений вконтактах сети заземления лифтов
- 54. Измерение сопротивления петли фазануль электросхемы лифта
- 55. ПРИЕМКА ЛИФТА ПОСЛЕ МОНТАЖА ИЛИ КАПИТАЛЬНОГО РЕМОНТА
- 56. ПРОГРЕССИВНЫЕ ФОРМЫ ЭКСПЛУАТАЦИИ ЛИФТОВ
- 57. ОБОРУДОВАНИЕ РАБОЧЕГО МЕСТА ПРИ ОБСЛУЖИВАНИИ ЛИФТА
- 58. ОБЪЕДИНЕННАЯ МАСТЕРСКАЯ ПРИ ОБСЛУЖИВАНИИ ЛИФТОВ
- 59. Рекомендации для устройства объединенной мастерской ПРИ ОБСЛУЖИВАНИИЛИФТОВ
- 60. СМОТР СОСТОЯНИЯ ЛИФТОВ
- 61. ОБСЛУЖИВАНИЕ ЛИФТОВ ПРИ ОДС
- 62. ОБСЛУЖИВАНИЕ ЛИФТОВ ПРИ ОДС
- 63. ОБСЛУЖИВАНИЕ ЛИФТОВ ПРИ ОДС
- 64. ОБСЛУЖИВАНИЕ ЛИФТОВ ПРИ ОДС
- 65. Возможные неисправности электрической схемы пассажирского лифта(грузоподъемность 320 (500) кг, скорость 1 м/с)
- 66. Возможные неисправности в работе электросхемы пассажирского лифта савтоматическим приводом
- 67. Возможные неисправности в работе электрической схемы пассажирского лифта
- 68. ДИСПЕТЧЕРИЗАЦИЯ ЛИФТОВ
- 69. ОБЪЕДИНЕННАЯ ДИСПЕТЧЕРСКАЯ СИСТЕМА (ОДС) ЛИФТОВ
- 70. ТРЕБОВАНИЯ К РАЗМЕЩЕНИЮ ОБЪЕДИНЕННОЙ ДИСПЕТЧЕРСКОЙ ЛИФТОВОЙ СЛУЖБЫ ЖЭК
- 71. ЛИФТОВЫЙ ДИСПЕТЧЕРСКИЙ ПУЛЬТ СЛУЖБЫ ЖЭК
- 72. КОНТРОЛЬ ЗА РАБОТОЙ ЛИФТОВ, ПОДКЛЮЧЕННЫХ К ОДС
- 73. ТЕХНИКО-ЭКОНОМИЧЕСКИЕ ВОПРОСЫ ОБСЛУЖИВАНИЯ ЛИФТОВ В ЖКХ
- 74. Возможные неисправности лифтовой аппаратуры ОДС, способы их определения иустранения
- 75. Неисправности усилителя мощности лифтовой аппаратуры ОДС
- 76. ПРОИЗВОДСТВЕННАЯ БАЗА РЕМОНТНОЙ ОРГАНИЗАЦИИ ЛИФТОВ
- 77. ПРОИЗВОДСТВЕННАЯ БАЗА РЕМОНТНОЙ ОРГАНИЗАЦИИ ЛИФТОВ
- 78. ПРОИЗВОДСТВЕННАЯ БАЗА РЕМОНТНОЙ ОРГАНИЗАЦИИ ЛИФТОВ
- 79. ОСНОВНЫЕ ТРЕБОВАНИЯ К МАТЕРИАЛАМ, ЗАГОТОВКАМ, ДЕТАЛЯМ И УЗЛАМ ЛИФТА ПРИПРОИЗВОДСТВЕ РЕМОНТА
- 80. Испытание и поставка узлов и деталей лифтов
- 81. ЛИФТОВАЯ АВАРИЙНАЯ СЛУЖБА (ЛАС)
- 82. УЧЕТ ПОСТУПИВШИХ ЗАЯВОК В ЛИФТОВУЮ АВАРИЙНУЮ СЛУЖБУ (ЛАС)
- 83. УЧЕТ ПОСТУПИВШИХ ЗАЯВОК В ЛИФТОВУЮ АВАРИЙНУЮ СЛУЖБУ (ЛАС)
- 84. УЧЕТ ПОСТУПИВШИХ ЗАЯВОК В ЛИФТОВУЮ АВАРИЙНУЮ СЛУЖБУ (ЛАС)
- 85. ОБЕСПЕЧЕНИЕ БЕЗОПАСНОСТИ ПРИ ПОЛЬЗОВАНИИ ЛИФТОМ ПАССАЖИРАМИ
- 86. ОБЕСПЕЧЕНИЕ БЕЗОПАСНОСТИ ПРИ ЭКСПЛУАТАЦИИ, РЕМОНТЕ И МОНТАЖНЫХ РАБОТАХ НАЛИФТАХ
- 87. Защитные средства ПРИ ЭКСПЛУАТАЦИИ, РЕМОНТЕ И МОНТАЖНЫХ РАБОТАХ НА ЛИФТАХ
- 88. Мероприятия обеспечения безопасности при проведении технических осмотров,текущих и капитальных ремонтов лифтов
- 89. Мероприятия обеспечения безопасности при проведении технических осмотров,текущих и капитальных ремонтов лифтов
- 90. Мероприятия обеспечения безопасности при проведении технических осмотров,текущих и капитальных ремонтов лифтов
- 91. Запрещенные методы выполнения работ на лифтах
- 92. Трехступенчатый контроль состояния техники безопасности работы на лифтах
- 93. СПИСОК ЛИТЕРАТУРЫ (Безопасная эксплуатация лифтов)

от 890.00 руб./шт.

от 185.00 руб./шт.

от 132.00 руб./шт.

от 103.00 руб./шт.

от 391.00 руб./шт.

от 17 518.00 руб./шт.

от 17 518.00 руб./шт.

от 17 518.00 руб./шт.

от 2559.00 руб./шт.

от 1578.00 руб./шт.

от 890.00 руб./шт.





